Rabu, 20 Mei 2015
Selasa, 07 April 2015
Refleksi Pertemuan Ke 5 & 6
Pertemuan Minggu ke 5 dan 6 ini, Bapak Wahyu memberikan materi tentang "Subprogram dan Rekursif" dan kami mendapat tugas individual maupun kelompok yang dikerjakan menggunakan aplikasi Raptor. Sebenarnya saya masih kurang menguasi aplikasi Raptor itu, karena saya sendiri baru mengenal Raptor saat kuliah. Bukan hanya Raptor, bahasa pemrograman seperti C++, saya juga kurang menguasai. Saya masih kesulitan untuk membuat program di aplikasi C++.
TUGAS INDIVIDU
2.1 Menukar 2 variable
2.2 Perhitungan jumlah siswa yang lulus dengan nilai di atas 50
2.3 Menghitung jumlah nilai dari perulangan sebanyak n kali
2.4 Faktorial
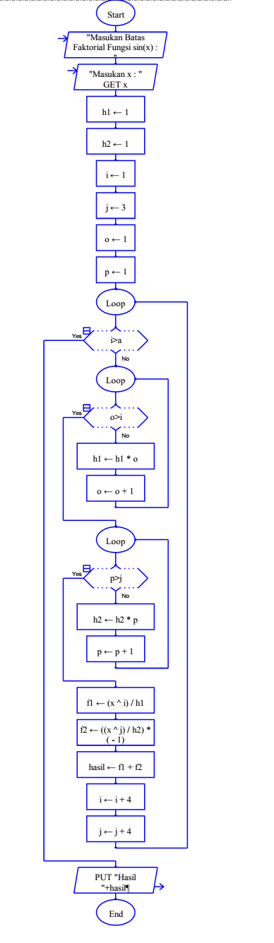
2.5 Fungsi Sin x
2.6 Fibonacci
2.7 Membalikkan bilangan
2.8 Konversi desimal ke oktal
2.9 Konversi desimal ke biner
3.1 Menentukan akar pangkat bilangan
3.2 Menentukan pembagi terkecil
Minggu, 22 Maret 2015
Langganan:
Komentar (Atom)








